完美网页版登录入口门怎样进行强度试验和严密性试验?
2024-07-19 10:22:46
完美网页版登录入口
完美网页版登录入口门怎样进行强度试验和严密性试验?
完美网页版登录入口门的强度试验和严密性试验一般在如图1所示的完美网页版登录入口门水压试验台上进行。

图1 完美网页版登录入口门水压试验台
1一排气孔(φ2~φ3mm) 2一垫片
试验时,压力应逐渐升高至试验压力,在规定的持续时间内,压力应保持不变,无泄漏现象为合格。试压持续时间按表1规定。

(1)强度试验
完美网页版登录入口门强度试验如图2所示。试验前,应先将完美网页版登录入口腔内的空气排净。试验时将关闭件稍微开启,并将完美网页版登录入口门通路一端堵严,水从另一端引人。试验带有旁通管的完美网页版登录入口门时,旁通完美网页版登录入口应打开。完美网页版登录入口门强度试验时的试验压力应符合管道及附件试验压力的有关规定。蒸汽和非腐蚀性气体用的闸完美网页版登录入口,其完美网页版登录入口门闸板应在装配前单独进行试验。

图2 完美网页版登录入口门强度试验
(2)严密性试验
水、蒸汽及压缩空气用完美网页版登录入口门,以水为试验介质进行严密性试验;氨系统用各种完美网页版登录入口门,应以压缩空气为介质进行严密性试验。严密性试验的试验压力为完美网页版登录入口件的公称压力。完美网页版登录入口门严密性试验如图3所示。试验时,应关闭完美网页版登录入口门,介质由通路一端引人,在另一端检查其严密性(见图3a)。如果是闸完美网页版登录入口,则两端均应分别做上述实验,或者采用图3b所示的方法,这样只需做一次实验。完美网页版登录入口体及完美网页版登录入口杆的接合面以及填料部分的严密性试验,应在关闭件开启、通路封闭的情况下进行(见图2)。
图3 完美网页版登录入口门严密性试验

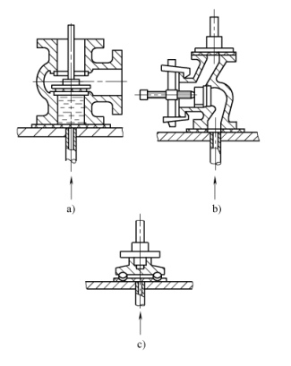
图4 完美网页版登录入口门密封圈的严密性试验
a)闸完美网页版登录入口完美网页版登录入口座 b)截止完美网页版登录入口完美网页版登录入口座 c)关闭件
TAG:
完美网页版登录入口门