史上超全完美网页版登录入口门动画工作原理分享
2022-06-21 完美网页版登录入口完美网页版登录入口门
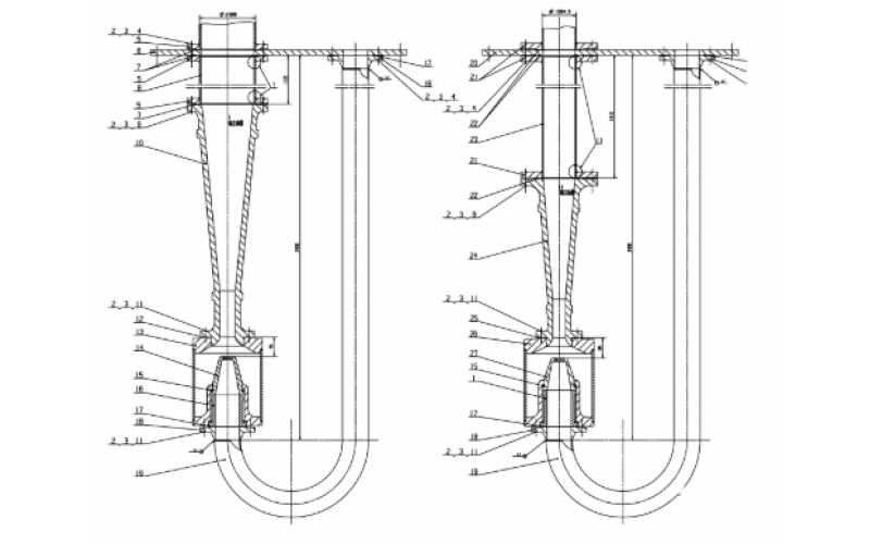
用于提升悬挂装置的新型钢丝绳锁绳器
2022-06-20 完美网页版登录入口设备
注油器工作原理知识分享
渐开线齿轮的变位(齿廓偏移)知识分享
钢铁厂空压机冷却水投用步骤分享
2022-06-17 完美网页版登录入口设备
KS-BJ系列热电偶常见故障及排除方法分享
2022-06-17 完美网页版登录入口自控
接地故障,是小电流接地系统相间故障的罪魁祸首
2022-06-16 完美网页版登录入口电气
安全和控制系统中完美网页版登录入口门的预期寿命
2022-06-16 完美网页版登录入口完美网页版登录入口门