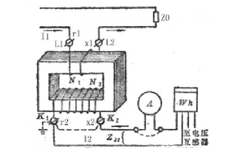
电压互感器与电流互感器的区别介绍
2022-08-22 完美网页版登录入口电气
使用热电偶时,为什么要使用补偿导线
2022-08-20 完美网页版登录入口
锅炉过热器减温水和再热器减温水对机组影响和作用
泵用恒位油杯的工作原理分享
#2机组AST电磁完美网页版登录入口试验油压波动分析原因
2022-08-19 完美网页版登录入口完美网页版登录入口门
汽机除氧器构造及原理分享
2022-08-19 完美网页版登录入口设备
锅炉单台引风机跳闸现象及具体处理方法分享
火电厂的给水泵、凝结水泵功能介绍
2022-08-18 完美网页版登录入口